Sử dụng các thông tin sau cho Câu 25 và 26
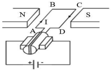
Xe đạp điện, xe máy điện là các ứng dụng của động cơ điện một chiều. Nguyên lí hoạt động của động cơ điện một chiều được mô tả như hình vẽ bên. Khung dây hình chữ nhật ABCD có kích thước \({\rm{AB}} = 30,0{\rm{\;cm}};{\rm{BC}} = 20,0{\rm{\;cm}}\); đặt trong từ trường đều giữa hai cực của nam châm có độ lớn cảm ứng từ là \(0,60{\rm{\;T}}\). Biết cạnh AB và CD luôn vuông góc với các đường sức từ.
Sử dụng các thông tin sau cho Câu 25 và 26
Xe đạp điện, xe máy điện là các ứng dụng của động cơ điện một chiều. Nguyên lí hoạt động của động cơ điện một chiều được mô tả như hình vẽ bên. Khung dây hình chữ nhật ABCD có kích thước \({\rm{AB}} = 30,0{\rm{\;cm}};{\rm{BC}} = 20,0{\rm{\;cm}}\); đặt trong từ trường đều giữa hai cực của nam châm có độ lớn cảm ứng từ là \(0,60{\rm{\;T}}\). Biết cạnh AB và CD luôn vuông góc với các đường sức từ.

Khi dòng điện trong khung dây là \({\rm{I}} = 10,0{\rm{\;A}}\) thì độ lớn lực từ tác dụng lên cạnh AB là bao nhiêu Niutơn (làm tròn kết quả đến chữ số hàng phần mười)?
Quảng cáo
Trả lời:
Đáp án:
Lực từ tác dụng lên đoạn dây: \(F = BIl\)
Với: \(l = AB = 0,30{\mkern 1mu} m\)
Suy ra: \(F = 0,60 \cdot 10 \cdot 0,30 = 1,8{\mkern 1mu} (N)\)
Câu hỏi cùng đoạn
Câu 2:
Khi khung dây quay thì xuất hiện suất điện động cảm ứng gọi là suất phản điện. Biết khung gồm 20,0 vòng dây. Lấy \(\pi = 3,14\). Khi tốc độ quay của khung là \(6,0\frac{{{\rm{\;v\`o ng\;}}}}{{\rm{s}}}\) thì suất phản điện có giá trị hiệu dụng là bao nhiêu Vôn (làm tròn kết quả đến chữ số hàng phần đơn vị)?
Đáp án:
Suất điện động cảm ứng của khung quay: \(e = NBS\omega \sin (\omega t)\)
Giá trị hiệu dụng: \(E = \frac{{{E_0}}}{{\sqrt 2 }} = \frac{{NBS\omega }}{{\sqrt 2 }}\)
Trong đó:
\(S = AB \cdot BC = 0,30 \cdot 0,20 = 0,06{\mkern 1mu} {m^2}\)
\(\omega = 2\pi f = 2 \cdot 3,14 \cdot 6 = 37,68{\mkern 1mu} rad/s\)
Tính biên độ:
\({E_0} = NBS\omega = 20 \cdot 0,60 \cdot 0,06 \cdot 37,68 \approx 27,1{\mkern 1mu} V\)
Giá trị hiệu dụng: \(E = \frac{{27,1}}{{\sqrt 2 }} \approx 19,2{\mkern 1mu} V\)
Làm tròn:
\(E \approx 19{\mkern 1mu} V\)
Hot: 1000+ Đề thi cuối kì 2 file word cấu trúc mới 2026 Toán, Văn, Anh... lớp 1-12 (chỉ từ 60k). Tải ngay
CÂU HỎI HOT CÙNG CHỦ ĐỀ
Câu 1
Đường sức từ giữa hai cực nam châm có phương thẳng đứng, chiều hướng lên.
Cực dương của nguồn điện nối với M và cực âm nối với N .
Lực từ tác dụng lên đoạn dây PQ có độ lớn \({\rm{F}} = {\rm{P}}\). tan \(\theta \).
Giá trị tan \(\theta \) tỷ lệ thuận với cường độ dòng điện I qua đoạn dây.
Lời giải
a) Đúng
Trên hình, cực dưới là \(N\), cực trên là \(S\). Đường sức từ ở khoảng không giữa hai cực nam châm đi từ \(N\) đến \(S\), nên có phương thẳng đứng và chiều hướng lên.
Vì vậy ý a đúng.
b) Đúng
Khi đóng khóa \(k\), thanh bị lệch về bên phải như hình, tức là lực từ tác dụng lên đoạn dây PQ hướng sang phải.
Dùng quy tắc bàn tay trái (hay quy tắc tích có hướng \(\vec F = I\vec l \times \vec B\)):
- \(\vec B\) hướng lên trên,
- \(\vec F\) hướng sang phải,.
suy ra dòng điện trong đoạn PQ phải có chiều thích hợp như hình vẽ mạch, tương ứng với cực dương của nguồn nối với \(M\) và cực âm nối với \(N\).
Vì vậy ý b đúng.
c) Sai
Vì các dây treo hợp với phương ngang một góc \(\theta \) nên nếu gọi \(T\) là tổng lực căng theo phương dây treo, ta có:
- thành phần theo phương ngang cân bằng lực từ: \(F = T\cos \theta \)
- thành phần theo phương thẳng đứng cân bằng trọng lực: \(P = T\sin \theta \).
Chia hai hệ thức: \(\frac{F}{P} = \frac{{T\cos \theta }}{{T\sin \theta }} = \cot \theta \)
Suy ra: \(F = P\cot \theta \)
Không phải: \(F = P\tan \theta \)
Vì vậy ý c sai.
d) Sai
Ta có lực từ tác dụng lên đoạn dây: \(F = BIl\)
Mà theo câu trên: \(F = P\cot \theta \)
Suy ra: \(P\cot \theta = BIl\)
Hay \(\cot \theta = \frac{{Bl}}{P}I\)
Vậy \(\cot \theta \) tỉ lệ thuận với \(I\), không phải \(\tan \theta \) tỉ lệ thuận với \(I\).
Vì vậy ý d sai.
Lời giải
Công thức liên hệ độ phóng xạ: \(A = \lambda N\)
Trong đó: \(\lambda = \frac{{\ln 2}}{T}\)
Đổi: \(T = 28,8{\mkern 1mu} {\rm{nam}} = 28,8 \cdot 365 \cdot 24 \cdot 3600 \approx 9,08 \cdot {10^8}{\mkern 1mu} s\)
Suy ra: \(\lambda = \frac{{0,693}}{{9,08 \cdot {{10}^8}}} \approx 7,63 \cdot {10^{ - 10}}\)
Tính số hạt trong 1 lít: \(N = \frac{A}{\lambda } = \frac{{0,69}}{{7,63 \cdot {{10}^{ - 10}}}} \approx 9,04 \cdot {10^8}\)
\(Trong200ml(1/5l{\rm{\'i }}t):\)\(N = \frac{{9,04 \cdot {{10}^8}}}{5} \approx 1,81 \cdot {10^8}\)
Do đó: \(x \approx 1,8\)
Câu 3
Để tránh hiện tượng thuyê̂n tắc khí, thợ lặn cần nổi lên với tốc độ nhanh.
Nếu coi nhiệt độ không đổi, khi một bọt khí hình thành trong mạch máu, thể tích các bọt khí sẽ tăng khi áp suất môi trường tiếp tục giảm.
Nếu áp suất trong các bọt khí giảm n lần thì đường kính của nó tăng n lần.
Để cấp cứu cho một thợ lặn bị thuyên tắc khí, các bác sĩ đã đưa bệnh nhân vào buồng tăng áp, cho thở oxygen nồng độ cao, giữ nằm yên và giữ ô̂n định thân nhiệt. Việc đưa bệnh nhân vào buồng tăng áp là để giảm kích thước bọt khí đã hình thành nhằm giảm ngụy cơ chèn ép mạch máu.
Lời giải
Bạn cần đăng ký gói VIP ( giá chỉ từ 250K ) để làm bài, xem đáp án và lời giải chi tiết không giới hạn.
Câu 4
A. Viên bi sắt thu nhiệt lượng lớn nhất.
B. Viên bi nhôm thu nhiệt lượng lớn nhất.
C. Cả ba viên bi thu nhiệt lượng bằng nhau.
D. Viên bi đồng thu nhiệt lượng lớn nhất.
Lời giải
Bạn cần đăng ký gói VIP ( giá chỉ từ 250K ) để làm bài, xem đáp án và lời giải chi tiết không giới hạn.
Câu 5
Guitar điện hoạt động dựa trên hiện tượng cảm ứng điện từ.
Dây đàn dao động làm cho từ thông qua cuộn dây biến thiên cùng tần số với dao động của nó.
Thân đàn của guitar điện có tác dụng cộng hưởng âm.
Khi người chơi bấm phím làm ngắn dây đàn, âm phát ra từ loa có tần số lớn hơn so với khi không bấm.
Lời giải
Bạn cần đăng ký gói VIP ( giá chỉ từ 250K ) để làm bài, xem đáp án và lời giải chi tiết không giới hạn.
Câu 6
Nhiệt độ môi trường là to.
Nhiệt năng truyền từ điện trở sang nước và từ nước ra môi trường.
Khi nhiệt độ ổn định, công suất tỏa nhiệt của điện trở cho nước và công suất tỏa nhiệt của nước cho môi trường bằng nhau.
Nhóm vẽ đồ thị biểu diễn sự phụ thuộc của \({\rm{\Delta }}t = t - {t_0}\) vào \(P\). Nếu đồ thị sau khi xử lí có dạng là đường thẳng đi qua gốc tọa độ thì nhận định ban đầu của nhóm là đúng.
Lời giải
Bạn cần đăng ký gói VIP ( giá chỉ từ 250K ) để làm bài, xem đáp án và lời giải chi tiết không giới hạn.
Câu 7
giảm 2 lần.
tăng 2 lần.
giảm 4 lần.
tăng 2 lần.
Lời giải
Bạn cần đăng ký gói VIP ( giá chỉ từ 250K ) để làm bài, xem đáp án và lời giải chi tiết không giới hạn.



