101 câu trắc nghiệm Sinh học 12 Kết nối tri thức Bài 23 (Đúng sai - Trả lời ngắn) có đáp án - Phần 3
4.6 86 lượt thi 30 câu hỏi
🔥 Đề thi HOT:
Bài tập Ứng dụng di truyền học (Sinh học 12) cực hay có lời giải (P1)
Bài tập Di truyền ở người (Sinh học 12) cực hay có lời giải chi tiết (P1)
Bài tập Hệ sinh thái - Sinh học 12 cực hay có lời giải (P1)
Bài tâp Quy luật di truyền (sinh học 12) có lời giải chi tiết (P1)
Bài tập Tiến hóa - Sinh học 12 cực hay có lời giải (P1)
343 bài tập Quy luật di truyền - Sinh học 12 (Di truyền học - chương 2) có lời giải (P1)
Bài tập Ứng dụng di truyền học (Sinh học 12) cực hay có lời giải chi tiết (P1)
440 Bài tập Hệ Sinh Thái (Sinh học 12) cực hay có lời giải (P1)
Nội dung liên quan:
Danh sách câu hỏi:
Câu 1
a. Cá hồi nâu là động vật biến nhiệt.
b. Thú mỏ vịt là động vật hằng nhiệt.
c.Trong điều kiện nhiệt độ môi trường thay đổi mạnh thú mỏ vịt dễ bị ảnh hưởng hơn
d. Nếu nhiệt độ môi trường tiếp tục tăng cao trên 40°C, chỉ có thú mỏ vịt sinh trưởng và phát triển bình thường.
Lời giải
Hướng dẫn giải
a, b đúng
c sai Cá hồi nâu dễ bị ảnh hưởng hơn. Lý do: Vì nhiệt độ cơ thể của cá hồi nâu thay đổi theo nhiệt độ môi trường, khi nhiệt độ quá thấp hoặc quá cao sẽ làm gián đoạn hoạt động sinh lý, ảnh hưởng đến sự sống còn. Ngược lại, thú mỏ vịt có khả năng duy trì nhiệt độ ổn định nên ít bị ảnh hưởng hơn.
d sai
Thú mỏ vịt: Mặc dù có khả năng điều hòa nhiệt độ cơ thể, nhưng khi nhiệt độ môi trường quá cao, việc phân tán nhiệt sẽ trở nên khó khăn, làm tăng nguy cơ quá nhiệt và ảnh hưởng đến sức khỏe của chúng.Câu 2
a. Các loài sinh vật phản ứng giống nhau đối với nhiệt độ môi trường.
b. Động vật hằng nhiệt có vùng phân bố rộng hơn động vật biến nhiệt.
c. Chỉ có động vật mới phản ứng với nhiệt độ môi trường còn thực vật thì không phản ứng.
d. Động vật biến nhiệt có khả năng thay đổi nhiệt độ cơ thể theo nhiệt độ môi trường nên có khả năng thích nghi hơn so với động vật hằng nhiệt.
Lời giải
Hướng dẫn giải
a sai: Các loài sinh vật đều sẽ có phản ứng khác nhau đối với nhiệt độ môi trường.
b đúng: Động vật hằng nhiệt có vùng phân bố rộng hơn động vật biến nhiệt vì động vật hằng nhiệt đã tiến hóa cao hơn.
c sai: Thực vật cũng có khả năng cảm ứng với nhiệt độ môi trường.
d sai: Động vật biến nhiệt có khả năng thích nghi kém hơn vì khi nhiệt độ cơ thể phụ thuộc vào nhiệt độ môi trường nên khi nhiệt độ thay đổi mạnh mẽ dẫn đến sự thay đổi các hoạt động sinh lý trong cơ thể, gây rối loạn.Câu 3
a. Các loài sinh vật phản ứng giống nhau trước nhiệt độ môi trường.
b. Chỉ có động vật mới nhạy cảm với nhiệt độ, còn thực vật thì ít phản ứng với nhiệt độ.
c. Động vật biến nhiệt thay đổi nhiệt độ cơ thể theo nhiệt độ môi trường nên dễ thích nghi hơn so với động vật đẳng nhiệt.
d. Động vật đẳng nhiệt có khả năng phân bố rộng hơn động vật biến nhiệt.
Lời giải
Hướng dẫn giải
a sai, các loài khác nhau phản ứng khác nhau với tác động như nhau của cùng một nhân tố sinh thái.
b sai, cả thực vật cũng phản ứng với nhiệt độ. Từ “chỉ” càng củng cố hơn niềm tin cho ta về độ sai của câu hỏi.
c sai do động vật đẳng nhiệt tiến hóa hơn nên trước những thay đổi của môi trường nó thích nghi nhanh hơn. Nếu môi trường thay đổi quá nhanh sẽ dẫn đến sự chết của các động vật biến nhiệt.
d đúng, do có khả năng thích nghi cao nên chúng phân bố rộng khắp.Câu 4
a. Tạo điều kiện tối thuận cho vật nuôi, cây trồng về mỗi nhân tố sinh thái.
b. Mỗi loài có giới hạn sinh thái đặc trưng về mỗi nhân tố sinh thái. Do vậy trong công tác nuôi trồng, ta cần phải bận tâm đến khu phân bố.
c. Khi biết được giới hạn sinh thái từng loài đối với mỗi nhân tố sinh thái, ta phân bố chúng một cách hợp lí. Điều này còn có ý nghĩa trong tác di nhập vật nuôi, cây trồng.
d. Nên giữ môi trường ở giới hạn dưới hoặc giới hạn trên để sinh vật khỏi bị chết.
Lời giải
Hướng dẫn giải
a đúng
b sai
c đúng
d saiCâu 5
a. (b) là môi trường trên đất gồm các loài động vật sinh sống như giun, dế.
b. (c)là môi trường dưới nước với các loài sinh vật thuỷ sinh sinh sống.
c. Các loài sinh vật khác nhau sinh sống ở các loại môi trường, gồm 4 loại môi trường: môi trường dưới nước (c), môi trường trên cạn (a,d), môi trường trong đất (d) và môi trường sinh vật.
d. Cá tuyết, cá mập sống ở biển, giun đũa sống trong ruột non của người, xương rồng sống ở xa mạc, vi khuẩn Clostridium sống trong đất...
Lời giải
Hướng dẫn giải
a. đúng.
b. đúng
c. Đúng.
d. Đúng.
Câu 6
a. Các yếu tố trên đều ảnh hưởng đến đời sống của sinh vật.
b. Có 2 yếu tố thuộc nhân tố hữu sinh ảnh hưởng đến đời sống sinh vật.
c. Có 6 yếu tố thuộc nhân tố vô sinh ảnh hưởng đến đời sống sinh vật.
d. Nhóm cây ưu sáng (Bạch đàn, lúa, ngô,…) phân bố tầng trên của tán rừng, nhóm cây ưa bóng (phong lan, vạn niên thanh, …) phân bố nơi ánh sáng yếu hoặc dưới bóng tán cây khác.
Lời giải
Bạn cần đăng ký gói VIP ( giá chỉ từ 199K ) để làm bài, xem đáp án và lời giải chi tiết không giới hạn.
Câu 7
a. Côn trùng ôn đới rộng nhiệt hơn côn trùng nhiệt đới.
b. Nhiệt độ tối thiểu của côn trùng ôn đới thấp hơn nhiệt độ tối ưu của côn trùng nhiệt đới khoảng 10OC.
c. Nếu cùng nuôi ở nhiệt độ 30OC, côn trùng nhiệt đới có tỉ lệ sống sót cao hơn côn trùng ôn đới.
d. Nếu sự biến đổi khí hậu tiếp tục tiếp diễn theo hướng tăng nhiệt độ trung bình của Trái Đất, côn trùng nhiệt đới sẽ thích nghi tốt hơn côn trùng ôn đới.
Lời giải
Bạn cần đăng ký gói VIP ( giá chỉ từ 199K ) để làm bài, xem đáp án và lời giải chi tiết không giới hạn.
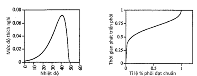
Câu 8
a.Nhiệt độ tối ưu cho sự phát triển của M. sanguinipes là bao nhiêu nằm trong khoảng 30–40°C, tại đó mức độ đạt giá trị cao nhất.
b.Khi nhiệt độ vượt ngưỡng 40°C mức độ thích nghi giảm đáng kể
c.Loài M. sanguinipes thích nghi tốt với vùng ôn đới mát, nhưng khả năng chịu nhiệt độ cực đoan của loài này hạn chế.
d.Tăng tốc ở giai đoạn cuối giúp phôi của loài M. sanguinipes nhanh chóng chuyển sang giai đoạn nhộng hoặc trưởng thành, đặc biệt trong môi trường có điều kiện ôn hòa để tránh được sự khắc nghiệt của thời tiết.
Lời giải
Bạn cần đăng ký gói VIP ( giá chỉ từ 199K ) để làm bài, xem đáp án và lời giải chi tiết không giới hạn.
Câu 9
a. Tầng trên của tán cây rừng là sự phân bố của nhóm cây ưa sáng (như bạch đàn, phi lao,…) có đặc điểm chịu được ánh sáng mạnh, phiến lá dày, mô giậu phát triển.
b. Sự phân tầng của thực vật kéo theo sự phân tầng của các loài động vật: nhiều loài chim, côn trùng sống trên các tán cây cao; sóc, vượn sống leo trèo trên các cành cây; hổ, báo sống dưới mặt đất,…
c. Sự phân bố của các loài sinh vật nói trên giúp tăng mức độ cạnh tranh giữa chúng về thức ăn, nơi ở, sinh sản và tận dụng được nguồn sống.
d. Thực vật thích nghi khác nhau với các điều kiện chiếu sáng của môi trường, thể hiện qua đặc điểm hình thái, cấu tạo giải phẫu, hoạt động sinh lí của chúng. Dựa vào đó con người có thể tăng năng suất cây trồng bằng các biện pháp kĩ thuật.
Lời giải
Bạn cần đăng ký gói VIP ( giá chỉ từ 199K ) để làm bài, xem đáp án và lời giải chi tiết không giới hạn.
Câu 10
a. Giới hạn sinh thái về nhiệt độ của cây lúa là 15-42 °C.
b. Khi nhiệt độ trên 15 °C và dưới 42 °C, cây lúa không thể sinh trưởng và phát triển được.
c. Tốc độ sinh trưởng và phát triển của cây lúa khi nhiệt độ tăng từ 15 – 25 °C khác với khi nhiệt độ tăng từ 35 – 42°C.
d. Nhiệt độ ngoài khoảng giới hạn sinh thái gây biến tính enzyme nên gây chết cho cây lúa.
Lời giải
Bạn cần đăng ký gói VIP ( giá chỉ từ 199K ) để làm bài, xem đáp án và lời giải chi tiết không giới hạn.
Câu 11
a. Nhiệt độ ảnh hưởng đến quá trình quang hợp và hô hấp của thực vật như nhau.
b. Giới hạn sinh thái nhiệt độ của quá trình quang hợp là -10 – 50 °C.
c. Khi nhiệt độ lớn hơn -10 °C, tốc độ quang hợp của thực vật gia tăng.
d. Nhiệt độ tối ưu cho quá trình hô hấp là 40 – 50 °C.
Lời giải
Bạn cần đăng ký gói VIP ( giá chỉ từ 199K ) để làm bài, xem đáp án và lời giải chi tiết không giới hạn.
Câu 12
a. Cá rô phi có giới hạn sinh thái về nhiệt độ rộng hơn cá chép.
b. Cá rô phi có khoảng thuận lợi hẹp hơn cá chép.
c. Cá chép thường có vùng phân bố rộng hơn so với cá rô phi.
d. Ở nhiệt độ 10oC, sức sống của cả hai loài cá có thể bị suy giảm.
Lời giải
Bạn cần đăng ký gói VIP ( giá chỉ từ 199K ) để làm bài, xem đáp án và lời giải chi tiết không giới hạn.
Câu 13
Các nhà khoa học tiến hành nghiên cứu về loài E.farinosa và tác động của các môi trường sống đến sự phát triển của loài này. Biết rằng loài E.farinosa làloài ưa sống ở nơi có khí hậu khô cằn, tập trung phổ biến ở phía Tây Nam Hoa Kỳ. Họ đã tiến hành gieo hạt giống và quan sát sự phát triển của E.farinosa trong 10 năm từ 1990 đến 2000 ở ba địa điểm khác nhau. Kết quả thu được được thể hiện ở bảng sau:
|
Địa điểm |
Lượng mưa trung bình hàng năm(mm) |
Đặc điểm khí hậu và thời tiết |
Sự phát triển của lá |
|
Superior, Arizona |
453 |
Độ ẩm cao |
Lá to, mỏng, không có lớp sáp hoặc lông bảo vệ. |
|
Oatman, Arizona |
111 |
Khô vừa phải |
Lá trung bình, ít lông, cân bằng giữa diện tích và độ dày. |
|
Death Valley, California |
52 |
Khô cằn |
Lá hẹp, nhỏ, có lớp sáp hoặc lông dày.
|
Xét các phát biểu sau đây là đúng hay sai?
a Hình dạng lá của E. farinosa thay đổi đáng kể tùy theo môi trường sống, phản ánh khả năng thích nghi sinh thái của loài.
b.Khi ở Death Valley, lá của loài E.farinosa sẽ teo nhỏ để giảm bớt sự thoát hơi nước
c. Sau khi cây phát triển hoàn toàn, thực hiện chiết và trồng cây của 3 vùng ở một sa mạc khác thì cây ở Oatman sẽ có thể có khả năng chống chịu tốt nhất.
d .Nhân tố sinh thái về lượng mưa không ảnh hưởng đến sự phát triển của loài E.farinosa ở ba vùng trên.
Lời giải
Bạn cần đăng ký gói VIP ( giá chỉ từ 199K ) để làm bài, xem đáp án và lời giải chi tiết không giới hạn.
Câu 14
a. Nhân tố ánh sáng ít ảnh hưởng đến sự phát triển của loài Atriplex triangularis.
b.Cây trồng trong điều kiện nhiều ánh sáng được biểu diễn ở đường màu đỏ, còn cây trồng trong điều kiện ít ánh sáng được biểu diễn ở đường màu xanh.
c. Trong những bức xạ từ 0 – 1500, càng tăng bức xạ thì cường độ quang hợp càng tăng đối với cây trồng trong điều kiện nhiều ánh sáng.
d. Đối với cây trồng trong điều kiện ít ánh sáng, càng tăng cường độ bức xạ thì cường độ quang hợp càng giảm.
Lời giải
Bạn cần đăng ký gói VIP ( giá chỉ từ 199K ) để làm bài, xem đáp án và lời giải chi tiết không giới hạn.
Lời giải
Bạn cần đăng ký gói VIP ( giá chỉ từ 199K ) để làm bài, xem đáp án và lời giải chi tiết không giới hạn.
Lời giải
Bạn cần đăng ký gói VIP ( giá chỉ từ 199K ) để làm bài, xem đáp án và lời giải chi tiết không giới hạn.
Lời giải
Bạn cần đăng ký gói VIP ( giá chỉ từ 199K ) để làm bài, xem đáp án và lời giải chi tiết không giới hạn.
Lời giải
Bạn cần đăng ký gói VIP ( giá chỉ từ 199K ) để làm bài, xem đáp án và lời giải chi tiết không giới hạn.
Lời giải
Bạn cần đăng ký gói VIP ( giá chỉ từ 199K ) để làm bài, xem đáp án và lời giải chi tiết không giới hạn.
Lời giải
Bạn cần đăng ký gói VIP ( giá chỉ từ 199K ) để làm bài, xem đáp án và lời giải chi tiết không giới hạn.
Lời giải
Bạn cần đăng ký gói VIP ( giá chỉ từ 199K ) để làm bài, xem đáp án và lời giải chi tiết không giới hạn.
Lời giải
Bạn cần đăng ký gói VIP ( giá chỉ từ 199K ) để làm bài, xem đáp án và lời giải chi tiết không giới hạn.
Lời giải
Bạn cần đăng ký gói VIP ( giá chỉ từ 199K ) để làm bài, xem đáp án và lời giải chi tiết không giới hạn.
Lời giải
Bạn cần đăng ký gói VIP ( giá chỉ từ 199K ) để làm bài, xem đáp án và lời giải chi tiết không giới hạn.
Lời giải
Bạn cần đăng ký gói VIP ( giá chỉ từ 199K ) để làm bài, xem đáp án và lời giải chi tiết không giới hạn.
Lời giải
Bạn cần đăng ký gói VIP ( giá chỉ từ 199K ) để làm bài, xem đáp án và lời giải chi tiết không giới hạn.
Lời giải
Bạn cần đăng ký gói VIP ( giá chỉ từ 199K ) để làm bài, xem đáp án và lời giải chi tiết không giới hạn.
Lời giải
Bạn cần đăng ký gói VIP ( giá chỉ từ 199K ) để làm bài, xem đáp án và lời giải chi tiết không giới hạn.
Lời giải
Bạn cần đăng ký gói VIP ( giá chỉ từ 199K ) để làm bài, xem đáp án và lời giải chi tiết không giới hạn.
Lời giải
Bạn cần đăng ký gói VIP ( giá chỉ từ 199K ) để làm bài, xem đáp án và lời giải chi tiết không giới hạn.













