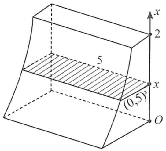
Một khối bê tông cao 2 m được đặt trên mặt đất phẳng. Nếu cắt khối bê tông này bằng mặt phẳng nằm ngang, cách mặt đất \(x\left( m \right)\left( {0 \le x \le 2} \right)\) thì được mặt cắt là hình chữ nhật có chiều dài 5 m, chiều rộng \({(0,5)^x}\left( m \right)\) (Hình).

Thể tích của khối bê tông là \(\_\_\_\_\) (kết quả làm tròn đến hàng phần trăm của mét khối).
Đáp án: _____
Quảng cáo
Trả lời:
Đáp án đúng là: 5,41
Ứng dụng tích phân tính thể tích
Chọn trục \(Ox\) thẳng đứng, gốc \(O\) nằm trên mặt đáy của khối bê tông, chiều dương hướng lên trên (Hình).

Khi đó, khối bê tông nằm trong khoảng không gian giữa hai mặt phẳng vuông góc với \(Ox\) lần lượt tại các điểm \(x = 0\) và \(x = 2\). Mặt phẳng vuông góc với \(Ox\) tại điểm có hoành độ \(x\left( {0 \le x \le 2} \right)\) cắt khối bê tông theo mặt cắt có diện tích là \(S\left( x \right) = 5 \cdot {(0,5)^x}\left( {{m^2}} \right)\). Do đó, thể tích của khối bê tông là
.
Hot: 1000+ Đề thi cuối kì 2 file word cấu trúc mới 2026 Toán, Văn, Anh... lớp 1-12 (chỉ từ 60k). Tải ngay
CÂU HỎI HOT CÙNG CHỦ ĐỀ
Câu 1
Lời giải
Phương pháp giải
Căn cứ vào nội dung văn bản.
- Đáp án A sai vì đoạn trích chỉ sử dụng hình tượng đám cưới nghèo để khắc họa lên nội dung chính của tác phẩm, chứ không tập trung miêu tả, xây dựng không gian đám cưới ở nông thôn.
- Đáp án sai vì đoạn trích có nhân vật chính là Dần - một cô gái nhưng ngoài Dần, đoạn trích cũng tập trung khắc họa hình ảnh bố Dần - một con người khổ sở, vất vả,...
- Đáp án D sai vì tác phẩm có 2 gia đình nhưng không tập trung miêu tả không gian gia đình.
- Đáp án đúng là B vì bằng hình ảnh đám cưới nghèo, tác giả tập trung thể hiện số phận nghèo khổ của những người nông dân, đoạn trích tập trung viết về người nông dân.
Câu 2
Lời giải
Phương pháp giải
Căn cứ vào nội dung văn bản.
- Đây là một câu hỏi rất dễ nhầm lẫn chính bởi nhan đề chỉ là phần gợi mở cho nội dung bài viết chứ không nói lên hết được mục đích hay nội dung của bài viết.
- Bài viết chỉ mượn dự án Manhattan làm một ví dụ cho khoa học mạng lưới mà các nhà khoa học đang nghiên cứu. Điều này được đề cập trong đoạn cuối bài viết "Bản đồ màu sắc của dự án Manhattan do Janosov lập nên là một trong những ví dụ gần nhất về việc khoa học mạng lưới giá trị như thế nào trong việc tạo ra những hiện diện của các kết nối của con người và các bản đồ hiển thị các hệ phức hợp với nhiều hợp phần tương tác. Những nghiên cứu tương lai trong lĩnh vực đang tiến hóa này có thể rọi thêm ánh sáng vào một phạm vi rộng những chủ đề ăn sâu trong lịch sử khoa học và lịch sử nhân loại".
=> Như vậy, mục đích chính của tác giả trong văn bản này phải là giới thiệu về khoa học mạng lưới.
Đáp án cần chọn là: B
Câu 3
Lời giải
Bạn cần đăng ký gói VIP ( giá chỉ từ 250K ) để làm bài, xem đáp án và lời giải chi tiết không giới hạn.
Lời giải
Bạn cần đăng ký gói VIP ( giá chỉ từ 250K ) để làm bài, xem đáp án và lời giải chi tiết không giới hạn.
Lời giải
Bạn cần đăng ký gói VIP ( giá chỉ từ 250K ) để làm bài, xem đáp án và lời giải chi tiết không giới hạn.
Câu 6
A. Là dao động cơ lan truyền trong một môi trường
B. Là sự lan truyền pha dao động trong một môi trường
C. Là sự lan truyền phần tử vật chất trong một môi trường
D. Là sự lan truyền năng lượng dao động trong một môi trường
Lời giải
Bạn cần đăng ký gói VIP ( giá chỉ từ 250K ) để làm bài, xem đáp án và lời giải chi tiết không giới hạn.

