250+ câu trắc nghiệm Kỹ thuật thông gió và điều hoà không khí có đáp án - Phần 11
21 người thi tuần này 4.6 1.7 K lượt thi 25 câu hỏi 45 phút
Bạn cần đăng ký gói VIP ( giá chỉ từ 199K ) để làm bài, xem đáp án và lời giải chi tiết không giới hạn.
🔥 Học sinh cũng đã học
1000+ câu trắc nghiệm Marketing và Thị trường dược phẩm có đáp án - phần 13
1000+ câu trắc nghiệm Marketing và Thị trường dược phẩm có đáp án - phần 12
1000+ câu trắc nghiệm Marketing và Thị trường dược phẩm có đáp án - phần 11
1000+ câu trắc nghiệm Marketing và Thị trường dược phẩm có đáp án - phần 10
1000+ câu trắc nghiệm Marketing và Thị trường dược phẩm có đáp án - phần 9
1000+ câu trắc nghiệm Marketing và Thị trường dược phẩm có đáp án - phần 8
1000+ câu trắc nghiệm Marketing và Thị trường dược phẩm có đáp án - phần 8
1000+ câu trắc nghiệm Marketing và Thị trường dược phẩm có đáp án - phần 7
Danh sách câu hỏi:
Câu 1
Đĩa vát được lắp lệch trên trục, năng suất của máy nén bằng không
Đĩa vát được lắp vuông góc với trục thì, năng suất của máy nén bằng không
Đĩa vát được lắp vuông góc với trục thì, năng suất của máy nén là lớn nhất
Tất cả các đáp án đều sai
Lời giải
Chọn đáp án B.
Câu 2
piston của máy nén chuyển động song song với trục
piston của máy nén chuyển động vuông góc với trục
piston của máy nén chuyển động lệch góc với trục
tất cả các đáp án đều sai
Lời giải
Chọn đáp án B.
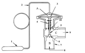
Câu 3
chi tiết số 2
chi tiết số 3
chi tiết số 1
chi tiết số 4
Lời giải
Chọn đáp án C.
Câu 4
chi tiết số 3
chi tiết số 2
chi tiết số 1
chi tiết số 4
Lời giải
Chọn đáp án B.
Câu 5
điều chỉnh được năng suất của máy nén
điều chỉnh được áp suất hơi hút vào máy nén
điều chỉnh được nhiệt độ hơi hút vào máy nén
không điều chỉnh được năng suất của máy nén
Lời giải
Chọn đáp án A.
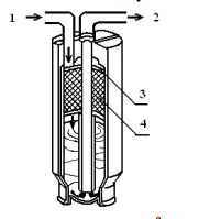
Câu 6
chi tiết số 2
chi tiết số 3
chi tiết số 4
chi tiết số 5
Lời giải
Bạn cần đăng ký gói VIP ( giá chỉ từ 199K ) để làm bài, xem đáp án và lời giải chi tiết không giới hạn.
Câu 7
chi tiết số 2
chi tiết số 3
chi tiết số 4
chi tiết số 5
Lời giải
Bạn cần đăng ký gói VIP ( giá chỉ từ 199K ) để làm bài, xem đáp án và lời giải chi tiết không giới hạn.
Câu 8
chi tiết số 3
chi tiết số 4
chi tiết số 5
chi tiết số 6
Lời giải
Bạn cần đăng ký gói VIP ( giá chỉ từ 199K ) để làm bài, xem đáp án và lời giải chi tiết không giới hạn.
Câu 9
áp suất p0 vào dàn bay hơi
áp suất pk vào van tiết lưu
áp suất pA của chất dễ bay hơi trong bầu cảm ứng nhiệt độ 1
tất cả các đáp án đều sai
Lời giải
Bạn cần đăng ký gói VIP ( giá chỉ từ 199K ) để làm bài, xem đáp án và lời giải chi tiết không giới hạn.
Câu 10
áp suất p0 vào dàn bay hơi
áp suất pk vào van tiết lưu
áp suất pA của chất dễ bay hơi trong bầu cảm ứng nhiệt độ 1
tất cả các đáp án đều sai
Lời giải
Bạn cần đăng ký gói VIP ( giá chỉ từ 199K ) để làm bài, xem đáp án và lời giải chi tiết không giới hạn.
Câu 11
áp suất p0
áp suất pk
áp suất pA của chất dễ bay hơi trong bầu cảm ứng nhiệt độ 1
tất cả các đáp án đều sai
Lời giải
Bạn cần đăng ký gói VIP ( giá chỉ từ 199K ) để làm bài, xem đáp án và lời giải chi tiết không giới hạn.
Câu 12
áp suất pk
áp suất p0
áp suất pA của chất dễ bay hơi trong bầu cảm ứng nhiệt độ 1
tất cả các đáp án đều sai
Lời giải
Bạn cần đăng ký gói VIP ( giá chỉ từ 199K ) để làm bài, xem đáp án và lời giải chi tiết không giới hạn.
Câu 13
sưởi nóng không khí ở DBH
tăng nhiệt độ môi chất lạnh ở DBH
phá băng cho DBH
tất cả các đáp án đều sai
Lời giải
Bạn cần đăng ký gói VIP ( giá chỉ từ 199K ) để làm bài, xem đáp án và lời giải chi tiết không giới hạn.
Câu 14
lọc bẩn và hút ẩm (nước) có trong không khí
lọc bẩn và hút ẩm (nước) có trong môi chất
lọc bẩn và hút ẩm (nước) có trong dầu nhờn
Lời giải
Bạn cần đăng ký gói VIP ( giá chỉ từ 199K ) để làm bài, xem đáp án và lời giải chi tiết không giới hạn.
Câu 15
chất lọc nước là 3
chất lọc nước là 2
chất lọc nước là 1
chất lọc nước là 4
Lời giải
Bạn cần đăng ký gói VIP ( giá chỉ từ 199K ) để làm bài, xem đáp án và lời giải chi tiết không giới hạn.
Câu 16
lưới lọc bẩn là 2
lưới lọc bẩn là 3
lưới lọc bẩn là 4
lưới lọc bẩn là 1
Lời giải
Bạn cần đăng ký gói VIP ( giá chỉ từ 199K ) để làm bài, xem đáp án và lời giải chi tiết không giới hạn.
Câu 17
Kiểm tra lượng lỏng môi chất chảy trong đường ống có đủ không
Báo hiệu có nước trong môi chất
Báo hiệu có lẫn các tạp chất hay không?
Tất cả các đáp án đều đúng
Lời giải
Bạn cần đăng ký gói VIP ( giá chỉ từ 199K ) để làm bài, xem đáp án và lời giải chi tiết không giới hạn.
Câu 18
tạo luồng không khí cưỡng bức qua dàn lạnh và dàn ngưng, làm giảm hệ số truyền nhiệt của dàn lạnh và dàn ngưng
tạo luồng không khí cưỡng bức qua dàn lạnh và dàn ngưng, làm tăng hệ số truyền nhiệt của dàn lạnh và dàn ngưng
tạo luồng không khí tự nhiên qua dàn lạnh và dàn ngưng, làm tăng hệ số truyền nhiệt của dàn lạnh và dàn ngưng
tạo luồng không khí tự nhiên qua dàn lạnh và dàn ngưng, làm giảm hệ số truyền nhiệt của dàn lạnh và dàn ngưng
Lời giải
Bạn cần đăng ký gói VIP ( giá chỉ từ 199K ) để làm bài, xem đáp án và lời giải chi tiết không giới hạn.
Câu 19
áp suất xả quá thấp
áp suất hút quá cao
áp suất xả quá cao
áp suất hút quá thấp
Lời giải
Bạn cần đăng ký gói VIP ( giá chỉ từ 199K ) để làm bài, xem đáp án và lời giải chi tiết không giới hạn.
Câu 20
Áp suất bay hơi quá cao
Bề mặt trao đổi nhiệt của dàn ngưng quá bẩn
Quạt làm mát dàn lạnh bị hỏng
Máy nén bị ngập lỏng
Lời giải
Bạn cần đăng ký gói VIP ( giá chỉ từ 199K ) để làm bài, xem đáp án và lời giải chi tiết không giới hạn.
Câu 21
Áp suất bay hơi quá cao
Bề mặt trao đổi nhiệt của dàn lạnh quá bẩn
Quạt làm mát dàn ngưng bị hỏng
Máy nén bị ngập lỏng
Lời giải
Bạn cần đăng ký gói VIP ( giá chỉ từ 199K ) để làm bài, xem đáp án và lời giải chi tiết không giới hạn.
Câu 22
Trong hệ thống có nhiều không khí
Bề mặt trao đổi nhiệt của dàn ngưng quá bẩn
Máy nén bị ngập lỏng
Tất cả các đáp án đều đúng
Lời giải
Bạn cần đăng ký gói VIP ( giá chỉ từ 199K ) để làm bài, xem đáp án và lời giải chi tiết không giới hạn.
Câu 23
thấp hơn 0°C
cao hơn 0°C
thấp hơn 20°C
cao hơn 20°C
Lời giải
Bạn cần đăng ký gói VIP ( giá chỉ từ 199K ) để làm bài, xem đáp án và lời giải chi tiết không giới hạn.
Câu 24
đóng ngắt van điện từ, điều khiển môi chất vào các dàn lạnh trước và dàn lạnh sau
chỉ đóng ngắt van điện từ để điều khiển môi chất vào dàn lạnh trước
chỉ đóng ngắt van điện từ để điều khiển môi chất vào dàn lạnh sau
Tất cả các đáp án đều sai
Lời giải
Bạn cần đăng ký gói VIP ( giá chỉ từ 199K ) để làm bài, xem đáp án và lời giải chi tiết không giới hạn.
Câu 25
ổn định chế độ không tải của động cơ khi không bật điều hoà
ổn định chế độ có tải của động cơ khi bật điều hoà
ổn định chế độ không tải của động cơ khi bật điều hoà
ổn định chế độ có tải của động cơ khi không bật điều hoà
Lời giải
Bạn cần đăng ký gói VIP ( giá chỉ từ 199K ) để làm bài, xem đáp án và lời giải chi tiết không giới hạn.










