Đề thi tuyển sinh vào lớp 10 Toán năm học 2023 - 2024 Sở GD&ĐT TP.HCM có đáp án
43 người thi tuần này 4.6 257 lượt thi 8 câu hỏi 45 phút
Bạn cần đăng ký gói VIP ( giá chỉ từ 250K ) để làm bài, xem đáp án và lời giải chi tiết không giới hạn.
🔥 Học sinh cũng đã học
Đề thi thử vào lớp 10 môn Toán năm 2026 THCS Hà Đông (Hà Nội) lần 3 có đáp án
Đề thi thử vào lớp 10 môn Toán năm 2026 THCS Tây Mỗ 3 (Hà Nội) lần 3 có đáp án
Đề thi thử vào lớp 10 môn Toán năm 2026 THCS Đống Đa (Hà Nội) Tháng 1 có đáp án
Danh sách câu hỏi:
Lời giải
a) Xét hàm số \(\left( d \right):y = x + 4\)
Ta có bảng giá trị
|
\(x\) |
0 |
– 4 |
|
\(\left( d \right):y = x + 4\) |
4 |
0 |
Xét hàm số \(\left( P \right):y = \frac{{{x^2}}}{2}\)
Ta có bảng giá trị
|
\(x\) |
– 4 |
– 2 |
0 |
2 |
4 |
|
\(\left( P \right):y = \frac{{{x^2}}}{2}\) |
8 |
2 |
0 |
2 |
8 |
(0,25 điểm)
Đồ thị hàm số \(\left( P \right)\) và \(\left( d \right)\):

(0,5 điểm)
b) Phương trình hoành độ giao điểm của \(\left( P \right)\) và \(\left( d \right)\) là \(\frac{{{x^2}}}{2} = x + 4\)
\( \Leftrightarrow \frac{{{x^2}}}{2} - x - 4 = 0 \Leftrightarrow {x^2} - 2x - 8 = 0\)
\( \Leftrightarrow \left( {x - 4} \right)\left( {x + 2} \right) = 0\)\( \Leftrightarrow \left[ \begin{array}{l}x = - 2\\x = 4\end{array} \right.\) (0,25 điểm)
+ Với \(x = - 2\) thì \(y = - 2 + 4 = 2\). (0,25 điểm)
+ Với \(x = 4\) thì \(y = 4 + 4 = 8\). (0,25 điểm)
Vậy tọa độ giao điểm của \(\left( P \right)\) và \(\left( d \right)\) là \(\left( { - 2;\,2} \right)\) và \(\left( {4;\,8} \right)\).
Lời giải
Vì phương trình đã cho có 2 nghiệm là \({x_1},{x_2}\) nên theo định lý Vi-ét, ta có:
\(\left\{ \begin{array}{l}{x_1} + {x_2} = \frac{{ - b}}{a} = \frac{{13}}{2}\\{x_1}.{x_2} = \frac{c}{a} = \frac{{ - 6}}{2} = - 3\end{array} \right.\). (0,5 điểm)
Ta có:
\(A = \left( {{x_1} + {x_2}} \right)\left( {{x_1} + 2{x_2}} \right) - x_2^2\)
\( = x_1^2 + 2{x_1}{x_2} + {x_2}{x_1} + 2x_2^2 - x_2^2\)
\( = x_1^2 + x_2^2 + 3{x_1}{x_2}\)
\( = {\left( {{x_1} + {x_2}} \right)^2} + {x_1}{x_2}\) (0,25 điểm)
\( = {\left( {\frac{{13}}{2}} \right)^2} + \left( { - 3} \right) = \frac{{157}}{4}\). (0,25 điểm)
Vậy \(A = \frac{{157}}{4}\).
Lời giải
a) Đổi 1,58 m = 158 cm.
Thay \(T = 158\) và \(N = 2\) vào \(M = T - 100 - \frac{{T - 150}}{N}\), ta có:
\(M = 158 - 100 - \frac{{158 - 150}}{2} = 54\) (kg).
Vậy cân nặng lý tưởng của bạn Hạnh là 54 kg. (0,25 điểm)
b) Thay \(M = 68\) và \(N = 4\) vào \(M = T - 100 - \frac{{T - 150}}{N}\), ta có:
\(68 = T - 100 - \frac{{T - 150}}{4}\)\( \Leftrightarrow \frac{{4T - \left( {T - 150} \right)}}{4} = 168\)\( \Leftrightarrow 3T + 150 = 672\) (0,25 điểm)
\( \Leftrightarrow 3T = 522 \Leftrightarrow T = 174\) (cm). (0,25 điểm)
Vậy để cân nặng của Phúc là lý tưởng thì chiều cao của bạn Phúc cần đạt là 174 cm hay 1,74 m.
Lời giải
- Nếu mua nhiều hơn 10 bông hồng thì từ bông thứ 11 trở đi mỗi bông được giảm thêm 10% trên giá niêm yết, do đó giá mỗi bông hồng từ bông hồng thứ 11 đến 20 là:
15 000 . (100% – 10%) = 13 500 (đồng).
- Nếu mua nhiều hơn 20 bông hồng thì từ bông thứ 21 trở đi mỗi bông được giảm thêm 20% trên giá đã giảm, do đó giá mỗi bông hồng từ bông hồng thứ 21 là:
13 500 . (100% – 20%) = 10 800 (đồng).
a) Nếu khách hàng mua 30 bông hồng thì số tiền phải trả là:
15 000 . 10 + 13 500 . 10 + 10 800 . 10 = 393 000 (đồng). (0,25 điểm)
b) Vì số tiền bạn Thảo phải trả là 555 000 > 393 000 (đồng) nên bạn đã mua nhieuf hơn 30 bông hồng.
Gọi \(x\) là số bông hồng mà bạn Thảo đã mua \(\left( {x \in \mathbb{N},x > 30} \right)\).
Ta có:
\(15000.10 + 13500.10 + 10800\left( {x - 20} \right) = 555000\) (0,25 điểm)
\( \Leftrightarrow x = 45\) (nhận). (0,25 điểm)
Vậy bạn Thảo đã mua 45 bông hồng.
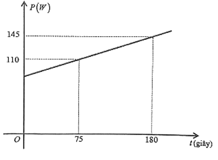
Lời giải
a) Quan sát đồ thị ta thấy:
Tại thời điểm \(t = 75\) (giây) thì công suất hao phí là \(110W\) nên đồ thị hàm số \(P = at + b\) đi qua điểm \(\left( {75;\,110} \right)\). Ta có phương trình: \(110 = 75a + b\). (1)
Tại thời điểm \(t = 180\) (giây) thì công suất hao phí là \(145\,W\) nên đồ thị hàm số \(P = at + b\) đi qua điểm \(\left( {180;\,145} \right)\). Ta có phương trình: \(145 = 180a + b\). (2)
Từ (1) và (2) ta có hệ phương trình: \(\left\{ \begin{array}{l}110 = 75a + b\\145 = 180a + b\end{array} \right.\) (0,25 điểm)
\( \Leftrightarrow \left\{ \begin{array}{l}a = \frac{1}{3}\\b = 85\end{array} \right.\). (0,25 điểm)
Vậy các hệ số cần tìm là \(a = \frac{1}{3},\,b = 85\).
b) Từ câu a) ta có: \(P = \frac{1}{3}t + 85\). Gọi \({t_0}\) (giây) là thời gian đun nước với công suất hao phí là \(P\left( {{t_0}} \right) = 105\,W\), ta có phương trình
\(\frac{1}{3}{t_0} + 85 = 105\) (0,25 điểm)
\( \Leftrightarrow {t_0} = 60\). (0,25 điểm)
Vậy thời gian để đun nước với công suất hao phí \(105\left( W \right)\) là 60 giây.
Lời giải
a) Theo định lí Pythagore, chiều cao của hình nón là
\(h = \sqrt {{l^2} - {R^2}} = \sqrt {{{10}^2} - {4^2}} = 2\sqrt {21} \) (cm). (0,25 điểm)
Thể tích phần chứa nước của ly là
\(V = \frac{1}{3}\pi {R^2}h = \frac{1}{3}\pi {.4^2}.2\sqrt {21} \approx 154\) (cm3). (0,25 điểm)
b) Đổi 1,2 lít = 1200 cm3.
Số ly nước Nam cần chuẩn bị là: 14 . 3 = 42 (ly).
Lượng nước trái cây Nam cần chuẩn bị là: (154 . 90%) . 42 = 5821,2 (cm3). (0,25 điểm)
Ta có: \(\frac{{5821,2}}{{1200}} = 4,851 \approx 5\).
Vậy Nam cần chuẩn bị 5 hộp nước trái cây.Lời giải
Bạn cần đăng ký gói VIP ( giá chỉ từ 250K ) để làm bài, xem đáp án và lời giải chi tiết không giới hạn.
Lời giải
Bạn cần đăng ký gói VIP ( giá chỉ từ 250K ) để làm bài, xem đáp án và lời giải chi tiết không giới hạn.
Xem tiếp với tài khoản VIP
Còn 2/8 câu hỏi, đáp án và lời giải chi tiết.
Bạn cần đăng ký gói VIP ( giá chỉ từ 250K ) để làm bài, xem đáp án và lời giải chi tiết không giới hạn.

